上海恒點傳動設備有限公司
加微信聯系 恒點減速機QQ2:51228482
[HTML] [XML]  産品展示産品展示-RSS  新聞中心新聞中心-RSS  技術支持技術支持-RSS
産品分類: 減速機蝸輪絲杆升降機轉向箱蝸輪蝸杆減速機齒輪減速機行星齒輪減速機擺線針輪減速機無級變速機大功率減速器
上海恒點傳動設備有限公司
資訊分類
和産品相關的技術文章
當前位置:網站首頁 > 技術支持 > KPTH型漸開線圓柱齒輪減速器外形及安裝尺寸(JB/T10243-2001)

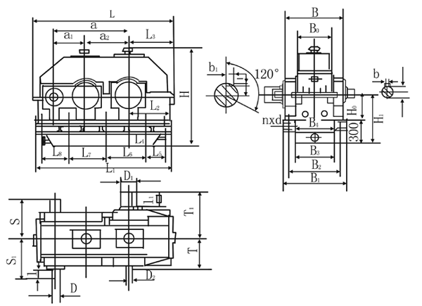
KPTH型漸開線圓柱齒輪減速器外形及安裝尺寸(JB/T10243-2001)

Tags: HB标準工業齒輪箱    發布時間: 2015-10-16

型号
中心距
中心高
輪廓尺寸
B0
B-1
a
a1
a2
H0
H
L
B
KPTH710(2)
1210
500
710
560
1770
2615
1190
580
1290
KPTH800(2)
1360
560
800
560
1955
2845
1260
640
1390
KPTH900(2)
1530
630
900
560
2190
3150
1420
780
1520
KPTH1000(2)
1710
710
1000
560
2400
3420
1420
790
1600
KPTH1120(2)
1920
800
1120
710
2600
3660
1580
900
1640
KPTH1250(2)
2150
900
1250
710
2770
4180
1810
990
1950
型号
B3
B4
L1
L2
L3
H1
地腳尺寸
d
n
B2
KPTH710(2)
680
660
2545
780
915
895
M42
10
940
KPTH800(2)
690
665
2695
840
975
975
M48
1000
KPTH900(2)
810
780
2990
930
1070
1150
1150
KPTH1000(2)
1000
865
3370
965
1090
1240
1320
KPTH1120(2)
1040
990
3510
1060
1195
1335
M56
1440
KPTH1250(2)
1110
1060
4020
1240
1380
1415
1550
型号
地腳尺寸
高速軸
L4
L5
L6
L7
L8
l
D
b
t
KPTH710(2)
280
280
780
500
400
140
110
28
116
KPTH800(2)
315
315
875
560
450
160
125
32
132
KPTH900(2)
355
355
985
630
505
165
140
36
148
KPTH1000(2)
350
480
1000
770
650
180
160
40
169
KPTH1120(2)
450
500
1020
975
675
200
190
45
200
KPTH1250(2)
500
500
1400
900
685
200
190
45
200
型号
S
S1
低速軸
T
T1
D2
最大重量
/kg
l1
D1
b1
t1
KPTH710(2)
845
820
240
240
72
24
650
930
75
9913
KPTH800(2)
895
870
260
280
84
28
690
990
13510
KPTH900(2)
980
965
280
300
90
30
770
1100
16600
KPTH1000(2)
1000
975
350
340
102
34
770
1190
20525
KPTH1120(2)
1055
1030
400
410
123
41
840
1290
24200
KPTH1250(2)
1235
1200
400
410
123
41
985
1420
34255
上一篇 上一篇: KPTH型漸開線圓柱齒輪減速器産品特點(JB/T10243-2001)
下一篇 下一篇: KPTH型漸開線圓柱齒輪減速器選用(JB/T10243-2001)
相關新聞文章 > 查看更多
錐齒輪承載能力計算方法第 2 部分 :齒面接觸疲勞(點蝕)強度計算齒面工作硬化系數ZW(GB/T10062.2-2003) 2025-05-12
12L14和45#鋼性能的區别 2025-04-02
公差與偏差的區别在哪? 2024-12-30
什麽是模鑄軸承鋼和連鑄軸承鋼 2024-11-08
軸承損壞後是否可以修複 2024-11-06
PWM和PAM的不同點是什麽? 2024-09-24
圓柱齒輪 檢驗實施規範 第3部分:齒輪坯、軸中心距和軸線平行度齒輪坯的精度(GB/Z18620.3-2002) 2024-08-28
圓柱齒輪、錐齒輪和準雙曲面齒輪膠合承載能力計算方法第2部分:積分溫度法影響因素(GB/Z6413.2-2003) 2024-06-06
齒根彎曲強度計算尺寸系數YX(GB/T10062.3-2003) 2024-04-25
諧波傳動減速器标志、包裝、運輸、貯存(GB/T14118-93) 2024-03-25
提高數控機床可靠性的方法2:採用技術成熟的模塊化部件 2024-01-23
減速機油封漏油的原因1-裝配原因 2021-04-08
返回頂部 關閉本頁】 【打印本頁
電 話:021-22815912  021-22816186  傳 真:021-32050712   郵箱:sales@021jsj.cn  減速機 絲杆升降機 轉向箱 蝸輪蝸杆減速機
Copyright©2009-2026上海恒點傳動設備有限公司 版權所有  地址:上海市金山區亭林鎮林寶路39号  郵編:200442  滬ICP備10206998号-2 
友情鏈接機械設備網 | 渦街流量計 | 輸送機 | 變頻控制櫃 | 破碎機 | 工業同城 | 手持終端 | 柴油發電機 | uv平闆打印機 | 風淋室 | QUV | 防火門 | 九愛圖紙 | 感應加熱設備 | 輸送帶廠家 | 噪聲治理 | 西門子plc | 拖鏈電纜 | AGV | 機械雜志 | 現代機械 | UWB高精度定位 |